Baca berita tanpa iklan. Gabung Gridoto.com+

Gambar Paten Kawasaki Bocor, Lagi Siapin Motor Hybrid Nih?

Adi Wira Bhre Anggono - Sabtu, 17 Oktober 2020 | 14:30 WIB
Desain paten Kawasaki untuk motor hybrid yang bocor ke publik.
Bennetts.co.uk
Desain paten Kawasaki untuk motor hybrid yang bocor ke publik.

Baca Juga: Ngidam Jangan Ditahan, Skema Kredit Ninja ZX-25R Paling Enteng Rp 1 Jutaan

Paten dari Kawasaki menjelaskan bahwa gabungan dari mesin bensin dan motor listrik ini dapat disematkan pada transmisi konvensional.

Sehingga, tiap motor listrik bisa memberikan tenaga pada motor, baik secara independen atau bersamaan.

Motor listrik ini juga disebutkan dapat berperan sebagai generator, mengecas aki saat mesin bensin digunakan dan dorongan tenaga dari motor listrik tidak digunakan.

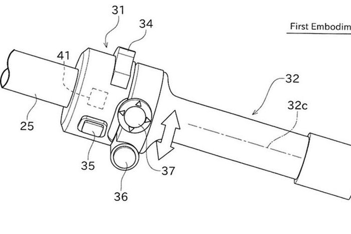
Pada paten yang beredar, tuas gas yang digunakan dibuat berbeda.

Baca Juga: Mumpung Promo, Beli Honda PCX Hybrid Cashback Rp 10 Juta, Berangkat Sob!

Desain paten Kawasaki untuk tuas gas motor hybrid
Bennetts.co.uk

Terdapat tombol untuk memilih mode dan mengaktifkan dorongan tenaga dari motor listrik.

Menariknya, tombol tersebut akan mengikuti putaran gas.

Sehingga, tombol tetap bisa ditekam, seberapa besar pun tuas gas dipelintir.

Tidak ada garansi yang menyebutkan teknologi tersebut akan sampai ke tahap produksi.

Namun, Kawasaki sudah mengajukan setidaknya tujuh paten terpisah terkait motor hybrid dalam satu tahun belakangan ini.

Hal tersebut menunjukkan keseriusan Kawasaki dalam mengembangkan motor hybrid.

Di Indonesia sendiri motor hybrid bukanlah sesuatu yang baru, Honda sudah memasarkan PCX Hybrid sejak dua tahun belakangan.

Artikel ini telah tayang di Kompas.com dengan judul "Kawasaki Mulai Kembangkan Mesin Hybrid untuk Motor".

Sobat bisa berlangganan Tabloid OTOMOTIF lewat www.gridstore.id.

Atau versi elektronik (e-Magz) yang dapat diakses secara online di : ebooks.gramedia.com, myedisi.com atau majalah.id



KOMENTAR

Berkomentarlah secara bijaksana dan bertanggung jawab. Komentar sepenuhnya menjadi tanggung jawab komentator seperti diatur dalam UU ITE
Laporkan Komentar
Terima kasih. Kami sudah menerima laporan Anda. Kami akan menghapus komentar yang bertentangan dengan Panduan Komunitas dan UU ITE.

YANG LAINNYA

loading
SELANJUTNYA INDEX BERITA
Close Ads X
yt-1 in left right search line play fb gp tw wa